Проводка в хрущевках

Тема в разделе "Ремонт и строительство", создана пользователем 1gerzog, 31.01.10.

  1. SilverClash

    SilverClash Активный участник

    3.293
    0
    Блин, развели тут демогогию.... лучше подскажите:

    Менял выключатель на ванную, он там стоит двойной, то есть в ванной две группы лампочек... Провод на одну из групп оказался обломан прямо на выходе из гофры (сходе в коробку). Коробку все равно буду менять, посоветйте как мне прицепиться к обломку и удлинить провод к выключателю, что что бы потом можно было спокойно зашпаклевать все это дело, ну или хотя бы гипсом замазать?
     
  2. Filler

    Filler Активный участник

    5.681
    73
    SilverClash, укороти гофру, ваговским клемником нарости кусок, ну а потом запрячь всё это дело (можно в кусочек гофры большего размера)
     
  3. sema

    sema Активный участник

    19.044
    2.344
    Filler,
    [off]че трубу не берешь? го в скайп?[/off]
     
  4. SilverClash

    SilverClash Активный участник

    3.293
    0
    Сегодня менял розетки на стене между кухней и залом... узнал много интересного :)

    Розетки подключены шлейфом - сперва зал, от нее кухня на смежной стене, а от нее в свою очередь еще одна розетка на противоположенной стене кухни, причем к ней провод идет через пол! Найти бы электрика сделавшего это, и руки поотрывать :iq:
     
  5. Filler

    Filler Активный участник

    5.681
    73
    Ну раньше не планировалось на кухне чайников, микроволновок, электрогрилей и тостеров :)
     
  6. SilverClash

    SilverClash Активный участник

    3.293
    0
    да это понятно, к этому претензий нет... вопрос в том, нафига пускать проводку под полом??? К тому же еще и без заземления - везде заземление есть, а на последнюю розетку уходит только два провода... Может это предыдущие хозяева наколхозили конечно, но все равно неприятно... проводку буду однозначно менять, но наверное только по весне...
     
  7. Frog-traveller

    Frog-traveller Активный участник

    2.353
    8
    Наверное у тебя в квартире бригада электрику делала, которая потом ко мне на составление сметы приходила:) Предложили под паркетом кабель пустить:) Были тут же изгнаны с позором:)
     
  8. SilverClash

    SilverClash Активный участник

    3.293
    0
    ну у меня пол вроде как бетонный.... правда местами не очень ровный, так что ремонт неизбежен...

    Вот обдумываю вариант, как бы мне ухитриться заменить проводку частями, так что бы не расхерачивать всю квартиру целиком, а по комнатам сделать по очереди...
     
  9. sema

    sema Активный участник

    19.044
    2.344
    SilverClash, у меня щит на 36 мест в коридоре. капитальный ремонт и замена проводки в зале. остальное по временной схеме (кухня, су, коридор)
     
  10. SilverClash

    SilverClash Активный участник

    3.293
    0
    ну вот я планирую что то типа этого, только я хочу в обратном порядке - заменить проводку в зале, на кухне, в комнатах, и уже в последнюю очередь коридор со щитком. Есть сомнения какой порядок лучше выбрать...
     
  11. Bukvoed

    Bukvoed Активный участник

    6.358
    1
    SilverClash, мы поменяли проводку во всей квартире, но у нас капитальный ремонт - можно долбать, сколько угодно. Могу дать телефон электрика, который нам делал. Работает старшим энергетиком, дает гарантию 1 год и рисует схему.
     
  12. Filler

    Filler Активный участник

    5.681
    73
    Я менял проводку частями совместно с ремонтом. Т.е. сначало делали ремонт в спальне - заменил там проводку, дырка в коридор, там бухта с запасом на будущий щиток. Жиле в зале. Следом ремонт в кухне пошел, потом туалет, ванная, позже зал. В это время в коридоре уже целая борода из проводов висела. Ну и напоследок облагораживал коридор с установкой щитка и заменой ввода с подъезда.
     
  13. sema

    sema Активный участник

    19.044
    2.344
    SilverClash,
    при ремонте в зале заложил провода и вывел концы в коридор. потом в коридоре поставил щит, более менее облагородил, даже стены отштукатурил. щит внутренний.
     
  14. SilverClash

    SilverClash Активный участник

    3.293
    0
    вот именно так я и хочу сделать - коридор в последнюю очередь, ибо там соберуться все концы в итоге :)

    это конечно идеальный вариант, но жить тоже надо где то... да и по финансам сразу всю квартиру я не потяну...
    с этим у меня тоже все впорядке, сам все нарисую и разпланирую... благо с электричеством дружу.

    у меня панелька, поэтому вопрос сложный что делать со щитом... планировал в кладовке рядом с кухней сделать, но там вент. каналы... придется что то придумывать, скорее всего внешний щиток...

    Собственно чуть позже выложу планировку - надеюсь форумчане помогут советом :)
     
  15. SilverClash

    SilverClash Активный участник

    3.293
    0
    Товарищи, собственно прокомментируйте пару вопросов:

    1. Выснилось что в моем доме проводка выполненна по схеме TN-C (или TN-C-S хотя как я понял это не особо принципиально). Каков порядок подключения в подъездном щитке?

    2. нужно ли перенос счетчика в квартиру согласовывать с Энергосбытом? И насколько это сложно?

    3. Можно ли не устанавливать автомат в подъездном щитке, если ввод до квартирного щитка будет выполнять УК. Безопастно ли это, и чем это вообще грозит?

    4. Энергетик УК сообщил что на мою квартиру можно поставить автомат 32А, в принципе 7 киловатт думаю достаточно на квартиру (плита газовая). Что если Поставить 50-60 А и кинуть провод 3х6 мм медью, до квартирного щитка, а там уже раскидать по секциям? Какой при этом нужен счетчик (вроде как у счетчика тоже есть максимально допустимый ток)?

    P.S. Модераторам - у меня не хрущевка, может надо в отдельную тему отделить, типа "Проводка в панельных домах"?

    ---------- Сообщение добавлено 20.10.2010 12:59 ----------

    Фазурик, твои комментарии тоже интересны! :)
     
  16. Bukvoed

    Bukvoed Активный участник

    6.358
    1
    Можно просто тему переименовать в "Электропроводка в квартире".
     
  17. TN-S у тебя, откуда в панельке заземление?
    как сказать...
    какой угодно!
    я не согласовывал. Потом узаконил.
    как 2 пальца об асфальт!
    а как ты будешь счетчик снимать, если что? В щитке остаются входные рубильники. Хотя я вместо них подключил незадействованный автомат для плиты на 40 А.
    нет, конечно...
    я так и сделал, 63А.
    так и надо
    60А самые распространенные. Энергомеру в корпусе К5 бери - они под DIN-рейку и современные щитки

    ---------- Сообщение добавлено 20.10.2010 13:20 ----------

    собсно, там 4 вопроса :d
     
  18. Фазурик

    Фазурик Активный участник

    999
    0
    Тут Вы не правы, есть несколько НЬЮансов.
    Типичный болван!

    ---------- Сообщение добавлено 20.10.2010 13:50 ----------

    От этого зависит надо ли ноль сажать на земляную шину до ввода или нет! А от этого зависит Ваша безопасность.

    ---------- Сообщение добавлено 20.10.2010 13:51 ----------

    Если воровать энергию не собираешься, нах... он тебе там нужен? Только лишнее место в щитке, а значит удорожание.
     
  19. SilverClash

    SilverClash Активный участник

    3.293
    0
    проводка в квартире трехпроводная, заземление на всех розетках имеется. Дом сдан в 99 году.
    Энергетик УК сказал что у меня в доме TN-C. В щитке пока не было возможности поковыряться - он под замком, ключ пока не раздобыл...
    а нафига мне его снимать? :d
    Если честно об этом не подумал.... значит проще поставить трехполюсник на 32-60 ампер... Это уже как договоримся с УК.

    Нужен только под дин-рейку, и желательно покомпактнее... Еще обдумываю вариант с двухтарифным счетчиком... пока не понял, нужно ли мне это...
    ну теоретически, если счетчик на 60А идет, то автомат перед ним все же стоит поставить меньшим номиналом.... Какие еще есть номиналы автоматов? 40А? 50А?


    ну докопался.... :d
     
  20. Фазурик

    Фазурик Активный участник

    999
    0
    Можно, но что тогда будет защищать кабель на участке который проходит от подъездного щитка до квартирного? Ведь если что произойдет в месте где кабель расположен в стене твоей квартиры, виноваты Вы, так как собственность Ваша.
     
  21. SilverClash

    SilverClash Активный участник

    3.293
    0
    то есть если на пальцах - надо ли ноль сажать на подъездный зиток, или нет??? Или я что то спутал?
    Судя по этой схеме:
    [​IMG]

    мне должно быть вообще по барабану, TN-C или TN-C-S, мне УК заводит в квартиру 3 провода, и я к ним подключаюсь. При этом для меня нет принципиальной разницы TN-C или TN-C-S, потому как эффект одинаковый...
     
  22. Фазурик

    Фазурик Активный участник

    999
    0
    Все нормально для вас, пока не случится какая-нибудь авария на этой линии. Приедет аварийка начнет ремонтировать, а за чей счет будет банкет, это будет рулетка! Если аварийка заметит что кабель не по норме, то ВЫ оплатите :d

    ---------- Сообщение добавлено 20.10.2010 14:00 ----------

    Нет Вы неправильной расключкой можете нарушить систему уравнивания потенциалов! И тогда в ваной вас может серьезно, т.с. ШВАРКНУТЬ:shuffle:

    ---------- Сообщение добавлено 20.10.2010 14:01 ----------

    Ни в коем случае, я сказал с земляной шиной, а не щиток. эти схемы принципиальны.

    ---------- Сообщение добавлено 20.10.2010 14:03 ----------

    А вы знаете как появились эти 3 провода??? Особенно РЕ или РЕN - это очень важно.

    ---------- Сообщение добавлено 20.10.2010 14:03 ----------

    А это в последствии Вы можете ощутить на собственной шк.... :shuffle:
     
  23. SilverClash

    SilverClash Активный участник

    3.293
    0
    ну мало ли что там с ним в подъезде произойдет.... сколько юнитов займет счетчик? 4 ??? По моим скромным оценкам щиток будет на 20-40 юнитов, тут уже +- 4 юнита - ни о чем....
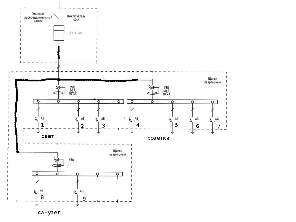
    Скоро начну рисовать общую схему... пока я это представляю как то так:

    ввод -> АСП ->
    1) УЗО на освещение, 1 автомат на две спальни, 1 автомат на зал, 1 автомат на кухню и коридор
    2) УЗО на ванную, 1 автомат розетки, 1 автомат освещение
    3) УЗО на розетки, по 1 автомату на каждую спальню и в коридор, в зал и кухню по 2 шт.

    Итого так скромненько: 12 юнитов автоматы + 3х3 (2) юнита УЗО + 3 юнита АСП + 3 юнита расцепитель к АСП - 27 мест....

    Это я еще забыл посчитать пару автоматов на сплиты...

    если так рассуждать, то надо ставить строго 32 ампера и не дергаться... Ну на самом деле 7 киловатт на квартиру за глаза... Что бы превысить ток 32 ампера это мне надо как минимум одновременно включить чайник, пылесос, все сплиты, фен, утюг, все телеки, все компы, и что нибудь еще, уже даже не знаю что.... но сами понимаете, всегда хочется чего то большего...
    тогда просвятите... ссылочку что ли дайте на грамотный материал.
    предысторию что ли? Честно говоря нет
     
  24. Фазурик

    Фазурик Активный участник

    999
    0
    Зря Вы так это может сказаться на рабочую температуру щитка! Это тоже иногда не мало важно, да и по нормам в щите надо не менее 10% свободного места.
    Да ни хрена ничего. про наркаманов воров это сказки :hah:
    Это тяжело читать, дайте схемку посоветую. что знаю.

    Всегда советую еще защиту от обрыва ноля предусмотреть.
     
  25. SilverClash

    SilverClash Активный участник

    3.293
    0
    вы наверное имели ввиду автомат.... кабель я могу хоть 3х10 кинуть, кто мне запретит?

    ---------- Сообщение добавлено 20.10.2010 14:15 ----------

    не знаюб как на счет нариков и ворюг.... но про больных на всю голову соседей, это не сказки...

    ---------- Сообщение добавлено 20.10.2010 14:16 ----------

    а если конкретные модели рассмотреть? Что именно посоветуете?

    ---------- Сообщение добавлено 20.10.2010 14:17 ----------

    посоветйте тогда в чем ее нарисовать.... пока что под ругой только Gimp и OpenOffice, и перезагружаться лень :shuffle:
     
  26. Фазурик

    Фазурик Активный участник

    999
    0
    Нет:d кабель тоже нормируется выделенной мощностью на квартиру! И если Вы самостоятельно увеличиваете сечение, этоне законно.
    Ну тут как Вам угодно.
    Я всегда пользую АВВ. там и от перепадов, и от обрыва. Т.с. все в одном флаконе.
    Все что читает майкрасофт Офис. аутокад, архикад. да хоть в паинт.
     
  27. SilverClash

    SilverClash Активный участник

    3.293
    0
    ввод в квартиру будет выполнять УК - само собой будет акт выполненных работ с указанием сечения провода... Так что за это я не переживаю...
    это недостаточно конкретно.... может есть название конкретной модели?

    ну вот.... придется в гимпе извращаться...
     
  28. Фазурик

    Фазурик Активный участник

    999
    0
    Тоды вопрос отпал.
    Реле контроля напряжения 1 и 3-х фазных цепей с контролем нейтрали арт.1SVR550870R9400
     
  29. SilverClash

    SilverClash Активный участник

    3.293
    0
    Фазурик, как то так:
     

    Вложения:

    • v2.jpg
      v2.jpg
      Размер файла:
      52,7 КБ
      Просмотров:
      548
  30. SilverClash

    SilverClash Активный участник

    3.293
    0
    Фазурик, ну и счетчик в квартире, некуда его было на схеме прилепить.... и АСП не знаю как обозначается... автоматы по группам:
    1) Свет: 1 автомат на две спальни, 1 автомат на зал, 1 автомат на кухню и коридор
    2) Санузел: 1 автомат розетки, 1 автомат освещение
    3) Розетки, по 1 автомату на каждую спальню и в коридор, в зал и кухню по 2 шт.