Вопрос Электрикам

Тема в разделе "Ремонт и строительство", создана пользователем Gosha, 18.09.14.

  1. 3.14-2.71

    3.14-2.71 Активный участник

    21.456
    203
    Да ну, у меня одно, хватает.

    ---------- Сообщение добавлено 23.09.2014 17:05 ----------

    А писюлятина вот в чем.

    Некоторое время назад было принято семейство ГОСТов 50571, списанных с МЭК 364, призванный гармонизировать советскую действительность с еуропейской практикой, и коий гост суть дословный перевод того МЭКа.

    И на момент принятия достаточно сильно концептуально расходился с ПУЭ 6-го издания, "библией" советских электриков. В нулевые годы было достаточно споров и холиваров о применимости документов. ПУЭ вроде как привычно и правильно. ГОСТ вроде как по статусу выше и датой свежее.

    Но так или иначе, в той части что посвещена сабжу, ГОСТ Р 50571.10-96. "Заземляющие устройства и защитные проводники" таких слов как "зануление" вообще нет.

    ПУЭ же задним числом стали причесывать что бы привести в соответсвие, хотя можно было бы нормы регулируемые ГОСТом просто ихъять оттуда. И причесали кривовато, в целом соответсвует но есть и расхождения.

    Вот поэтому я и говорю, что термин "зануление" не должен применяться, ибо отсутсвует в концепции МЭК. То что в ПУЭ остались рудименты, ничего не доказывает, кроме ЧСВ овер 9000 его аффтаров.

    Например, в былом ПУЭ вообще не была предусмотрена сеть TN-S. Совершенно неясно что считать занулением в такой сети. Ведь есть специальный проводник РЕ, а вдруг кто то вообразит что к N надо корпус прилабунить, чем он не нуль?
     
  2. Скаут

    Скаут Активный участник

    1.159
    99
    ну дык поэтому в том же пуэ и сказано, что после разделения объединять - ни-ни.
    Ну и опять же, если бы были системы тнс, но да. понятие занудение было бы глупу, но сеть-то в большинстве от тп расходится 4 жилкой, вот отсюда и выдумали тнс-с, каковой системы в мэке нету, и за рубежом не слыхали даже о таком ))), долго ржал недавно над немцами, которые смотрели на это безобразие
     
  3. 3.14-2.71

    3.14-2.71 Активный участник

    21.456
    203
    Скаут, есть все там. Может устарела, но вовсе не для совка выдумывалося.
     
  4. modcomp

    modcomp Активный участник

    13.261
    2.090
    как сделал я, после нескольких корректировок от энергосбыта :).
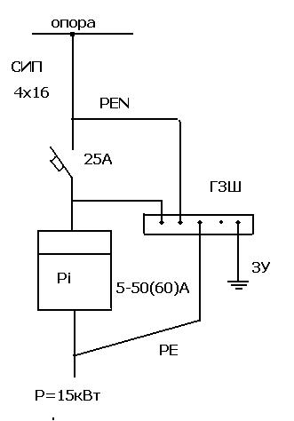
    Первый рис. однолинейная схема ка должно быть, на фото как выполнил.
    Слева шинка нулевая (N) справа заземление (PE). Т.е. от щитка идет пятижильный провод. (три фазы, N, PE).
     

    Вложения:

  5. xoxot07

    xoxot07 Активный участник

    10.430
    964
    modcomp, сам ящик под пломбу? Зачем в нем столько лишнего тогда?
     
  6. Скаут

    Скаут Активный участник

    1.159
    99
    я б такому монтажеру руки бы в .... засунул, если бы принимал этот щит )))) как минимум 5 замечаний по монтажу.

    естьт автоматы екф, у них стеклопластик на винтовых зажимах пломбируется и нет этой поганой наклейки.
     
  7. xoxot07

    xoxot07 Активный участник

    10.430
    964
    Во, наклейки то я и не заметил!
     
  8. modcomp

    modcomp Активный участник

    13.261
    2.090
    монтировал сам, первый раз... честно жлоба задавила когда в энергонадзоре назвали 4,5 тыс. за монтаж. Знаю, что землю надо было посадить сразу на ГЗШ. Так же соединить отдельно с ГЗШ сам ВРУ, но внес небольшую корректировку. Так же использовал по 2 шины изолированные для лучшего контакта, т.к. соединение провода болтиком мне всегда не нравилось...(иногда срезается резьба, плохой контакт, передавливает провод...). Так же я посчитал выполнение монтажа гибким проводом это усложнение монтажа, т.к. его надо огильзовывать или лудить. В конце концов проверили и сказали пойдет... :)
    Надо учесть, что в водно-распределительном устройстве должны быть установлены две медные шины, защитная шина «РЕ», а так же нулевая шина «N», которую необходимо крепить к металлической конструкции ВРУ на изоляторах. PEN-проводник требуется проложить до защитной шины «РЕ», которая будет выполнять функции главной заземляющей шины (ГЗШ) в вашем ВРУ. Сечение PEN-проводника должно быть не менее 10 мм2 по меди или 16 мм2 по алюминию.

    ---------- Сообщение добавлено 25.09.2014 22:33 ----------

    лишнее что? Розетка с доп. автоматом больше для того, чтоб место заполнить и вдруг надо будет менять кабель к дому тогда отключив рубильник выходной остаюсь с розеткой. Так же счетчик под пломбой, поэтому 2-ой автомат нужен для свободной работы с кабелем.
     
  9. xoxot07

    xoxot07 Активный участник

    10.430
    964
    я уже сказал что пломбы не заметил! просто как-то делают вводной и счётчик в отдельный пластиковый бокс а уже от него ведут к автоматом, при этом бокс пломбируют.
     
  10. zyu-zik

    zyu-zik Активный участник

    10.712
    2
    большие сечения наоборот - намного упрощение, обжать пару сек, а вот гнуть это *****ию - та ещё веселуха. Как раз вот от таких вещей и отваливаются болтики и винтики
     
  11. Gosha

    Gosha Активный участник

    1.992
    3
    modcomp, А заземление (нормальное, в виде треугольника или линии) - где делал? У столба, и от него уже тянул 5 жил к дому, или у дома (т.е., у столба остался штырь - слабое подобие земли, нормальная земля - у дома, и штырь с землей соединены пятой жилой кабеля??
    У меня в этом загвоздка ))
     
  12. zyu-zik

    zyu-zik Активный участник

    10.712
    2
    Gosha, делали прямо под щитком на доме, 6 метровый штырь покрытый медью 200 микрон. Загвоздки нет, я на след неделе запас прутков пополнять буду всё равно (один остался)
     
  13. Gosha

    Gosha Активный участник

    1.992
    3
    zyu-zik, не понял - ты у
    modcomp, это делал?
    А когда в известном месте сделаешь? ;););)
     
  14. zyu-zik

    zyu-zik Активный участник

    10.712
    2
    Gosha, ну да. Завтра машинку с ремонта обещают отдать да поедем
     
  15. Скаут

    Скаут Активный участник

    1.159
    99
    недавно увидел спец штыри для контура, 1 штырь гарантировано дает 1 ом сопротивления, чего БОЛЕЕ чем достаточно, правда цена нормальная.
     
  16. modcomp

    modcomp Активный участник

    13.261
    2.090
    Точно зю-зик отметился и у меня :). От столба до дома идет СИП 25х4 до щитка около 11м. рядом с щитком заземление. от щитка уже идет пятижильный 16х5 медь в дом на основной щиток в цоколе. От него уже на щитки по этажам...
     
  17. zyu-zik

    zyu-zik Активный участник

    10.712
    2
    только 10х5 всё-таки :) или выкинули тот провод? о_О

    ---------- Сообщение добавлено 26.09.2014 23:04 ----------

    Скаут, ты про омеднённые? на клинике 8 метров таких. Сильно - очень сильно зависит от влажности грунтов.
     
  18. modcomp

    modcomp Активный участник

    13.261
    2.090
    заменил тот провод :) он пошел у меня внутри дома на щитки по этажам и на котел

    ---------- Сообщение добавлено 26.09.2014 23:47 ----------

    у нас глина и влага начинается с 35 метров, поэтому даже обменённый на 6м. летом выдал около 16 Ом.
     
  19. zyu-zik

    zyu-zik Активный участник

    10.712
    2
    modcomp, жесть, тогда только бурить и закладывать.

    50 кВт Вам дали??
     
  20. modcomp

    modcomp Активный участник

    13.261
    2.090
    пока 15, но на будущее :), чтоб по живому не долбить и не прокладывать дополнительно. Сосед поставил 20 кВт. котел, потом пришлось срочно добавлять 25 кВт. Дом правда у него чуток поболее и потолки повыше... Другой так же 10 сначала кинул, потом еще добавил 10... Если газ запустят, то конечно и 15 хватит за глаза.
     
  21. modcomp

    modcomp Активный участник

    13.261
    2.090
    Встал вопрос товарищу помочь с электрикой в сталинке. Стены там дранка, но кое-где отделано гипсокартоном. Так вот вопрос, как крепить розетки на гипсокартон или дранку, чтоб со временем не вылетало и не разбалтывалось? Как заменить проводку не снимая гипсокартон? Идея вырезать отверстия и пробывать просовывать проволку, а потом затягивать провод...
     
  22. Скаут

    Скаут Активный участник

    1.159
    99
    если потолок натяжной - то по потолку, опуски - по...ся придется, а розетки в спец подрозетники по гипсокартону.
     
  23. xoxot07

    xoxot07 Активный участник

    10.430
    964
    так придётся доплатить, и чем дольше тем больше.
     
  24. modcomp

    modcomp Активный участник

    13.261
    2.090
    не хотят натяжной потолок ни гипсокартоном, хотя потолки 3,2м. Гипсокартон где стоит, старинный и слебенький, побаиваюсь, что вылетит вместе с подразетником. Может есть накладки под ГКЛ в районе розеток, для распределения нагрузки на большую площадь...
     
  25. Скаут

    Скаут Активный участник

    1.159
    99
    вы хоть сами поняли что написали?
    По блюпупу никак (((
    ток провода тянуть новые....
     
  26. 3.14-2.71

    3.14-2.71 Активный участник

    21.456
    203
    да так можно сделать
     
  27. modcomp

    modcomp Активный участник

    13.261
    2.090
    вопрос встал. Как можно защитить провод ВВГ от мышей, если пробрасывать в щель между стеной и полом. Насколько гофра реально может помочь? Металлическую как то нехоться...
     
  28. Скаут

    Скаут Активный участник

    1.159
    99
    металлорукав, та же гофра, ток металлическая

    ---------- Сообщение добавлено 18.10.2014 14:00 ----------

    обычную гофру мыши любят, как и изоляцию проводов )
     
  29. mike410

    mike410 Активный участник

    3.428
    1
    Я уже на форусе спрашивал попробую тут теперь:

    Не хочу делать ноую тему, спрошу тут: менял ввод в квартиру, электрик УКшный, вроде бы нормальный (обычный..), дом панелька 9этажей 90года строительства. В подъездном щитке счетчик, пакетник и автомат. Попросил я значит заменить автомат (горелый) ну и новый кабель мой подключить, а старые выкинуть. Естественно попросил подключить мне землю (ввод трех жильный кабель). Электрик сообщил что - все нормально, земля на корпусе подъездного зитка, надо просто прикрутить болтом, что он же и сделал.

    А я в интернетах начитался про типы заземления и теперь запутан - можно ли использовать узо и вообще как что? И вроде разделение на ноль и землю не в щитке, но опять таки ВРОДЕ...

    Не тупит. И звонить в УК и электрику пусть уточняет? Просто он с некоторыми особенностями, те мне пришлось кое что подсказывать ему и доверия нет.
     
  30. 3.14-2.71

    3.14-2.71 Активный участник

    21.456
    203
    mike410,
    УЗО можно использовать, даже и без всякой земли

    Разделение на рабочую и защитную нейтраль -- РЕ можно делать в щите, главное что бы до щита провода были не менее 25 кв. люминия или 15 меди.

    Главное, что рабочая и защитная нейтраль должны бть присоединены к шине или корпусу щита разными болтами.

    Ну а лутше и не сделаешь если не было запроектировано изначально.